English
日本語
한국어
Deutsch
Español
italiano
русский
tiếng việt
Türkçe
português
فارسی
Search
홈
제품
회사
서비스
솔루션
카탈로그
연락처
홈
제품
회사
서비스
솔루션
카탈로그
연락처
이메일
86-534-8127588
Sales@bright-tools.com
ko
English
日本語
한국어
Deutsch
Español
italiano
русский
tiếng việt
Türkçe
português
فارسی
zh-CN
제품
CNC 공구 홀더
정적 및 구동 도구
지루한 도구
반대로 진동
도구 홀더 액세서리
기계
각도 헤드
PSC
축소 적합 도구 홀더
유압 척
MOD 도구 홀더
JIS B 6339-BT 도구 홀더
JIS B 6339-BBT 도구 홀더
JIS B 6339-NBT 도구 홀더
DIN 69871-SK 도구 홀더
DIN 69871-ISO 도구 홀더
ANSI B5.50 SCAT/CAT 도구 홀더
DIN 69893 (ISO 12164) HSK-A 도구 홀더
DIN 69893 (ISO 12164) HSK-E 도구 홀더
DIN 69893 (ISO 12164) HSK-F 도구 홀더
DIN69893 (ISO12164-1)-HSK-T 도구 홀더
DIN2080-NT 도구 홀더
GOST 25827-93 도구 홀더
DIN69880-VDI 도구 홀더
DIN69880-VDI 냉각수 도구 홀더
BMT 도구 홀더
구동 도구 홀더
지루한 도구 홀더
보링 도구 홀더 액세서리
댐핑 페이스 밀 홀더
댐핑 투밍 도구 홀더
통합 댐핑 마무리 보링 도구 홀더
모스 도구 홀더
콜렛
풀 스터드
콜렛 너트
콜렛 스패너
지루한 바 감소 소매
도구 홀더 Bushing
장치 잠금 도구 홀더
HSK 냉각수 튜브
클러치 드라이브 링
나사 유지
클램핑 키트 58 PCS
Balluff 데이터 캐리어
도구 홀더 트롤리
수축 적합 기계, 표준
수축 적합 기계, 냉각
수축 적합 기계, 냉각
수축 적합 기계, 냉각
도구 홀더 청소 장치
AG90
AGU
PSC 어댑터에 BT
SK에서 PSC 어댑터
PSC 어댑터에 HSK
터닝 도구 홀더
터닝 도구 홀더
표준 수축 핏 척 4.5 °
MQL1 채널 축소 피트 척
MQL2 채널 수축 핏 척
슬림 수축 핏 척, 3 °
슬림 수축 척 확장 3 °
모듈 축소 피트 척
축소 적합 ER 콜레트
축소 적합 ER 콜레트 확장
축소 척 세트
2 조각 슬림 수축 척 바디
2 조각 슬림 수축 척 확장
수축 척, 3 °, 슬림, 양식 A
수축 척, 3 °, 슬림, 양식 B
수축 척, 3 °, 정사이즈, 양식 A
수축 척, 3 °, 정사이즈, 양식 B
수축 척, 3 °, 정사이즈, 냉각수
축소 척, 곡선
MQL1 채널 길이 설정 나사
MQL1 채널 냉각수 공급 세트
MQL2 채널 길이 설정 나사
MQL2 채널 냉각수 공급 세트
BT 유압 척, 표준
HSK-F 유압 척, 표준
HSK-A 유압 척, 표준
HSK-E 유압 척, 표준
BBT 유압 척, 표준
SK 유압 척, 표준
BT 유압 척, 슬림
SK 유압 척, 슬림
CAT 유압 척, 슬림
HSK 유압 척, 슬림
C 유압 척, 슬림
BT 유압 척, 전원 디자인
SK 유압 척, 파워 디자인
HSK 유압 척, 파워 디자인
BT 유압 척, 짧은
SK 유압 척, 쇼트
BT 유압 척, 금형
SK 유압 척, 금형 용
HSK 유압 척, 금형
SK 유압 척, 그라인드 용
MTB 유압 척
유압 척, 모듈
밀봉 된 유압 콜렛
유압 밀봉 콜렛
냉각수 채널과 유압 콜렛
플랜지 도구 홀더 에이터퍼 슬리브
ER 콜레트 척, 모듈
축소 핏 척, 모듈
유압 척, 모듈
UM 너트와 함께 ER 콜레트 척
Hex Nut과 ER Collet Chuck
미니 너트와 함께 ER 콜레트 척
ER 콜렛 척, 짧은
GER 콜렛 척
OZ 콜레트 척
TG 콜레트 척
정밀 스크류 콜레트 척
파워 밀링 척
파워 밀링 척
다시 콜레트 척 당기기
SKS 콜렛 척
얼굴 밀 홀더 인치
페이스 밀 홀더
콤비 쉘 밀 홀더
엔드 밀 홀더
냉각수 채널이있는 엔드 밀 홀더
엔드 밀 홀더 휘파람 노치
탕과 모스 테이퍼 어댑터
서랍 막대가있는 모스 테이퍼 어댑터
도구 홀더 어댑터 슬리브
드릴 척 어댑터
APU 드릴 척 홀더
정밀 드릴 척 홀더
빠른 변경 태핑 척
스크류 인 밀링 커터 홀더
스크류 인 밀링 커터 홀더, 스트레이트
런아웃 조정 가능한 플랜지 어댑터
UM 조정가능한
ATC 팔 정렬 도구
지루한 바 공백
스핀들 테스트 아버
ATC 팔 BT 정렬 도구
UM 너트와 BBT ER 콜레트 척
Hex Nut과 BBT ER 콜레트 척
미니 너트와 BBT ER 콜레트 척
BBT 파워 밀링 척
BBT 파워 밀링 척
BBT SKS 콜렛 척
BBT 페이스 밀 홀더
BBT 콤비 쉘 밀 홀더
BBT 웰던 엔드 밀 홀더
당나라와 BBT 모스 테이퍼 어댑터
BBT 도구 홀더 어댑터 슬리브
BBT 정밀 드릴 척 홀더
BBT 런아웃 조정 가능한 플랜지 어댑터
BBT 스핀들 테스트 아버
NBT ER 콜레트 척
NBT SKS 콜렛 척
UM 너트와 함께 DIN 69871 ER 콜레트 척
Dex Nut과 함께 DIN 69871ER 콜레트 척
미니 너트와 함께 DIN 69871 ER 콜레트 척
DIN 69871 ER 콜레트 척, 짧은
DIN 69871 파워 밀링 척
SK 파워 밀링 척
DIN 69871 OZ 콜레트 척
DIN 69871 SKS 콜렛 척
DIN 69871 페이스 밀 홀더
DIN 69871 콤비 쉘 밀 홀더
DIN 69871 엔드 밀 홀더 웰던
냉각수 채널이있는 DIN 69871 엔드 밀 도구 홀더
DIN 69871 엔드 밀 홀더 휘파람 노치
당나라와 DIN 69871 모스 테이퍼 어댑터
드로우 바가있는 DIN 69871 모스 테이퍼 어댑터
DIN 69871 도구 홀더 어댑터 슬리브
DIN 69871 드릴 척 어댑터
DIN 69871 APU 드릴 척 홀더
DIN 69871 정밀 드릴 척 홀더
DIN 69871 빠른 변경 태핑 척
DIN 69871 스크류 인 밀링 커터 홀더
DIN 69871 스크류-밀링 커터 홀더, 스트레이트
DIN 69871 런아웃 조정 가능한 플랜지 어댑터
DIN 69871 UM 조정 가능한 도구 홀더
DIN 69871 지루한 바 공백
DIN 69871 스핀들 테스트 아버
ATC 팔 용 DIN 69871 정렬 도구
ATC 팔 용 SK 정렬 도구
Hex Nut과 함께 드라이브 슬롯이없는 ER 콜레트 척
MS 너트와 드라이브 슬롯이없는 ER 콜렛 척
UM 너트가있는 드라이브 슬롯이없는 ER 콜렛 척
ANSI B5.50 ER 콜렛 척 UM 너트
ANSI B5.50 ER Collet Chuck with Hex Nut
ANSI B5.50 ER 콜레트 척, 짧은
ANSI B5.50 전원 밀링 척
CAT 파워 밀링 척
ANSI B5.50 TG 콜레트 척
ANSI B5.50 정밀 스크류 콜렛 척
ANSI B5.50 페이스 밀 홀더 인치
ANSI B5.50 엔드 밀 홀더 웰던
냉각수 채널이있는 ANSI B5.50 엔드 밀 홀더
당나라와 ANSI B5.50 모스 테이퍼 어댑터
ANSI B5.50 도구 홀더 어댑터 슬리브
ANSI B5.50 드릴 척 어댑터
ANSI B5.50 APU 드릴 척 홀더
ANSI B5.50 정밀 드릴 척 홀더
ANSI B5.50 빠른 변경 태핑 척
ANSI B5.50 스크류 인 밀링 커터 홀더
ANSI B5.50 스크류 인 밀링 커터 홀더, 스트레이트
ANSI B5.50 런아웃 조정 가능한 플랜지 어댑터
ANSI B5.50 UM 조정 가능한 도구 홀더
ANSI B5.50 ATC 팔 정렬 도구
ANSI B5.50 보링 바 공백
ANSI B5.50 스핀들 테스트 아버
ANSI B5.50 ATC 팔 정렬 도구
UM 너트와 함께 DIN 69893 ER 콜레트 척
Dex Nut과 함께 DIN 69893 ER 콜렛 척
미니 너트와 함께 DIN 69893 ER 콜레트 척
DIN 69893 HSK-A 파워 척
HSK 파워 밀링 척
DIN 69893 OZ 콜레트 척
DIN 69893 TG 콜레트 척
DIN 69893 정밀 스크류 콜레트 척
DIN 69893 풀백 콜레트 척
DIN 69893 SKS 콜렛 척
DIN 69893 페이스 밀 홀더
DIN 69893 페이스 밀 홀더
DIN 69893 콤비 쉘 밀 홀더
DIN 69893 엔드 밀 홀더 웰던
냉각수 채널을 가진 DIN 69893 엔드 밀 홀더
DIN 69893 엔드 밀 홀더 휘파람 노치
드로우 바가있는 DIN 69893 모스 테이퍼 어댑터
DIN 69893 도구 홀더 어댑터 슬리브
DIN 69893 APU 드릴 척 홀더
DIN 69893 정밀 드릴 척 홀더
DIN 69893 빠른 변경 태핑 척
DIN 69893 스크류 인 밀링 커터 홀더
DIN 69893 스크류-밀링 커터 홀더, 스트레이트
DIN 69893 런아웃 조정 가능한 플랜지 어댑터
DIN 69893 UM 조정 가능한 도구 홀더
ATC 팔 용 DIN 69893 정렬 도구
DIN 69893 지루한 바 공백
DIN 69893 스핀들 테스트 아버
DIN 69893 (ISO 12164) HSK-E ER 콜레트 척
DIN 69893 (ISO 12164) HSK-E 페이스 밀 홀더
DIN 69893 (ISO 12164) HSK-E 웰던 엔드 밀 홀더
DIN 69893 (ISO 12164) HSK-E 스핀들 테스트 아버
DIN 69893 (ISO 12164) HSK-F ER 콜레트 척
DIN 69893 (ISO 12164) HSK-F OZ 콜레트 척
DIN 69893 (ISO 12164) HSK-F 페이스 밀 홀더
DIN 69893 (ISO 12164) HSK-F 웰던 엔드 밀 홀더
DIN 69893 (ISO 12164) HSK-F 모스 테이퍼 어댑터
DIN 69893 (ISO 12164) HSK-F 정밀 드릴 척 홀더
DIN 69893 (ISO 12164) HSK-F 보링 바 공백
DIN 69893 (ISO 12164) HSK-F 스핀들 테스트 아버
HSKect 보링 바 홀더
외부 및 얼굴 용 HSKICT 터닝 도구 SBH
외부 및 컷오프를위한 HSKICT 터닝 도구 SBV
외부 및 얼굴 용 HSKICT 터닝 도구 SBN
외부 및 마주 보는 HSKICT 터닝 도구 SBT
HSK-T 터닝 도구 DCLNR | DCLNL 95 °/80 °
HSK-T 터닝 도구 PCLNR | PCLNL 95 °/80 °
HSK-T 터닝 도구 DCMNN 50 °/80 °/50 °
HSK-T 터닝 도구 PCMNN 50 °/80 °/50 °
HSK-T 터닝 도구 PDJNR | PDJNL 55 °/93 °
HSK-T 터닝 도구 DDNNN 62.5 °/55 °/62.5 °
HSK-T 터닝 도구 PDNNN 62.5 °/55 °/62.5 °
HSK-T 터닝 도구 DDUNR | DDUNL 93 °/55 °
HSK-T 터닝 도구 PDUNR | PDUNL 93 °/55 °
HSK-T 터닝 도구 DSBNR | DSBNL 90 °/75 °
HSK-T 터닝 도구 PSBNR | PSBNL 90 °/75 °
HSK-T 터닝 도구 DSSNR | DSSNL 45 °/90 °
HSK-T 터닝 도구 PSSNR | PSSNL 45 °/90 °
HSK-T 터닝 도구 DVPNR | DVPNL 117.5 °/35 °
HSK-T 터닝 도구 DVUNR | DVUNL 93 °/35 °
HSK-T 터닝 도구 DVVNN 72.5 °/35 °/72.5 °
HSK-T 터닝 도구 DWLNR | DWLNL 95 °/80 °
HSK-T 터닝 도구 PWLNR | PWLNL 95 °/80 °
HSK-T 터닝 도구 DDQNR | DDQNL 107.5 °/55 °, 긴
HSK-T 터닝 도구 PDQNR | PDQNL 107.5 °/55 °, 긴
HSK-T 터닝 도구 SCLCR | SCLCL 95 °/80 °
HSK-T 터닝 도구 SCMCN 50 °/80 °/50 °
HSK-T 터닝 도구 SDHCR | SDHCl 107.5 °/55 °
HSK-T 터닝 도구 SDNCN 62.5 °/55 °/62.5 °
HSK-T 터닝 도구 SDJCR | SDJCL 93 °/55 °
HSK-T 터닝 도구 SDUCR | SDUCL 93 °/55 °
HSK-T 터닝 도구 SSBCR | SSBCL 75 °/90 °
HSK-T 터닝 도구 SSSCR | SSSCL 45 °/90 °
HSK-T 터닝 도구 SVPBR | SVPBL | SVPCR | SVPCL 117.5 °/35 °
HSK-T 터닝 도구 SVUBR | SVUBL | SVUCR | SVUCL 93 °/35 °
HSK-T 터닝 도구 SVVBN | SVVCN 72.5 °/35 °/72.5 °
HSK-T 터닝 도구 SVJBR | SVJBL | SVJCR | SVJCL 93 °/35 °
HSK-T 터닝 도구 긴 SDQCR | SDQCL 107.5 °/55 °
HSK-T 터닝 도구 긴 SVQCR | SVQCL 107.5 °/55 °
미니 너트와 함께 DIN2080 ER 콜레트 척
DIN2080 ER 콜렛 척 UM 너트
DIN2080 파워 밀링 척
DIN2080 OZ 콜레트 척
DIN2080 페이스 밀 홀더
DIN2080 콤비 쉘 밀 홀더
DIN2080 웰던 엔드 밀 홀더
당나라와 DIN2080 모스 테이퍼 어댑터
드로우 바가있는 DIN2080 모스 테이퍼 어댑터
DIN2080 도구 홀더 어댑터 슬리브
DIN2080 드릴 척 어댑터
DIN2080 APU 드릴 척 홀더
DIN2080 빠른 변경 두드리는 척
GOST 25827-93 ER 콜레트 척
GOST 25827-93 파워 밀링 척
GOST 파워 밀링 척
GOST 25827-93 페이스 밀 홀더
GOST 25827-93 콤비 쉘 밀 홀더
GOST 25827-93 웰던 엔드 밀 홀더
Tang과 GOST 25827-93 모스 테이퍼 어댑터
GOST 25827-93 Morse 테이퍼 어댑터 (Drawbar 포함)
GOST 25827-93 APU 드릴 척 홀더
GOST 25827-93 빠른 변경 태핑 척
방사형 홀더 형태 B1 오른쪽, 짧은
방사형 홀더 형태 B2 왼쪽, 짧은
방사형 홀더 형태 B3 거꾸로 오른쪽, 짧은
방사형 홀더 형태 B4 거꾸로 왼쪽, 짧은
방사형 홀더 형태 B5 오른쪽, 긴
방사형 홀더 형태 B6 왼쪽, 긴
방사형 홀더 형태 B7 거꾸로 오른쪽, 긴
방사형 홀더 형태 B8 거꾸로 왼쪽, 긴
축 홀더 양식 C1 오른쪽
축 홀더 양식 C2 왼쪽
축 홀더 양식 C3 거꾸로 오른쪽
축 홀더 양식 C4 거꾸로 왼쪽
여러 좌석이있는 직사각형 홀더 양식 D1
여러 개의 좌석이있는 직사각형 홀더 양식 D2 반전
인덱싱 가능한 삽입 드릴 양식 E1 용 보링 홀더
지루한 홀더 양식 E2
지루한 바 홀더 양식 E2S
OZ 콜레트 척 양식 E3
ER 콜렛 척 양식 E4
더블 지루한 바 홀더, 오른쪽
더블 보링 바 홀더, 왼쪽
모스 테이퍼 어댑터 형태 F
직사각형 빈 형태 A1
둥근 빈 형태 A2
절단 도구 홀더 오른쪽 높이 조정 가능
절단 도구 홀더 왼쪽 높이 조정 가능
절삭 공구 홀더 거꾸로 된 오른쪽 높이 조정 가능
절단 도구 홀더 거꾸로 된 왼쪽 높이 조정 가능
보호 플러그 형태 Z2
B1A 방사형, 짧은, 냉각수
B2A 방사형, 짧은, 냉각수
B3A 방사형, 짧은, 냉각수
B4A 방사형, 짧은, 냉각수
B1B4A 방사형, 짧은, 냉각수
B1B4AK 방사형, 짧은, 냉각수, 쐐기 클램핑 홀더
B2B3A 방사형, 짧은, 냉각수
B2B3AK 방사형, 짧은, 냉각수, 쐐기 클램핑 홀더
B5AK 방사형, 긴, 냉각수, 쐐기 클램핑 홀더
B6AK 방사형, 긴, 냉각수, 쐐기 클램핑 홀더
B7AK 방사형, 긴, 냉각수, 쐐기 클램핑 홀더
C1C4A 축, 냉각수
C1C4AK 축, 냉각수, 쐐기 클램핑 홀더
C2C3A 축, 냉각수
D1D2A 직사각형 홀더, 냉각수
ARALU 컷 오프 도구 홀더, 냉각수
ALARU 절단 도구 홀더, 냉각수
BMT OD 터닝 도구 홀더
BMT 축 구동 헤드, DIN 1809
BMT 더블 OD 터닝 도구 블록
BMT 얼굴 터닝 도구 홀더
BMT 보링 바 도구 홀더
BMT 보링 바 홀더, 내부 및 외부 냉각수
BMT 드라이브 헤드, DIN 1809
VDI 드라이브 헤드, DIN 1809
VDI 드라이브 헤드, DIN 5480
VDI 드라이브 헤드, DIN 5482
VDI 구동 헤드, TOEM BARUFFALDI
VDI 구동 헤드, STEPPED HAAS
JIS B 6339 보링 도구 홀더
DIN 69871 보링 도구 홀더
DIN 69893 HSK-A 지루한 도구 홀드
DIN 69893 HSK-F 지루한 도구 홀더
JIS B 6339 브리지 보링 도구 홀더
DIN 69871 브리지 보링 도구 홀드
DIN 69893 브리지 보링 도구 홀드
BSB90 ° 보링 홀더 광장 보링 비트
광장 보링 비트가있는 TQC 45 ° 보링 홀더
BH2084 보링 도구 키트
DCK5-FB50P 마이크로 니싱 보링 키트
DCK6-FB50P 마이크로 니싱 보링 키트
파인 보링 헤드
트윈 커터 러프 보링 헤드, SP/SC
트윈 커터 러프 보링 헤드, CC
보링 도구 홀더 확장
보링 도구 홀더 감속기
트윈 커터 러프 보링 헤드
다리 거친 지루한 머리
작은 미세 지루한 머리
NBJ20 마이크로 보링 바
MTA 모스 테이퍼 ER 콜레트 척
MTB 모스 테이퍼 ER 콜레트 척
MTA 모스 테이퍼 OZ 콜레트 척
MTB 모스 테이퍼 OZ 콜레트 척
MTA 모스 테이퍼 페이스 밀 홀더
MTB 모스 테이퍼 페이스 밀 홀더
MTB 모스 테이퍼 콤비 쉘 밀 홀더
MTA 스트레이트 생크 태핑 척
ER 콜렛
ER 콜렛 세트
고무 밀봉 콜렛
ER 밀봉 된 콜렛, 엄밀한
ER 밀봉 된 콜렛
ER 태핑 밀봉 된 콜렛
스트레이트 생크 콜렛
OZ 콜레트
SKS 콜렛
NDC 콜렛
DC 콜렛
Cluth, Metric없이 콜렛 탭
Cluth, 인치없이 접점을 두드리는
Cluth, Metric으로 콜렛 탭
Cluth, 인치와 접점을 두드리는
BT 풀 스터드
SK 풀 스터드
ISO 7388 풀 스터드
고양이 풀 스터드
OTT 풀 스터드
ISO 풀 스터드
마작 BT 풀 스터드
Mazak CAT 풀 스터드
ER 너트-UM
ER 너트 헥스
ER 너트 미니
ER 너트-MS
GER 너트
ER 밀봉 된 너트
OZ 너트
SKS 너트
ER 스패너-Hex
ER 스패너-미니
ER 스패너-UM
ER 스패너-MS
후크 스패너
볼 스패너
보링 바 홀더를 위한 감소 슬리브
보링 바 홀더 SL40-20 위한 감소 슬리브
Bushing B 유형 도구 홀더
Bushing J 유형 도구 홀더
도구 홀더 부싱 C 유형
도구 홀더 부싱 DD 유형
Bushing Z 유형 도구 홀더
도구 홀더 부싱 CV 유형
7/24 및 HSK 테이퍼 도구 홀더 용 잠금 장치
7/24 테이퍼 도구 홀더 용 잠금 장치
도구 홀더 트롤리 표준
도구 홀더 스탠드
도구 홀더 캐비닛
도구 홀더 트롤리 TL
도구 홀더 트롤리 TH
도구 홀더 트롤리 TD
AG90-ER11
AG90-ER16
AG90-ER20
AG90-ER25
AG90-ER32
AG90-ER40
AG90-BT30
AG90-BT40
AGB-BT40
AG90-BT50
AG90-ER16X2
AG90-ER20X2
AG90-ER25X2
AG90-ER32X2
AG90-ER40X2
AG90-BT40X2
AG90-F50
AG90-F63
AG90-F80
AG90-F100
AGU-ER16
AGU-ER20
AGU-ER25
AGU-ER32
AGU-BT50
회사
BRIGHT-TOOLS 정보
뉴스
서비스
동영상
기술 도움말
FAQ
솔루션
산업 솔루션
고객 솔루션
카탈로그
연락처
ATC 팔 BT 정렬 도구
구매 ATC 팔 BT 정렬 도구
홈
제품
CNC 공구 홀더
JIS B 6339-BT 도구 홀더
ATC 팔 BT 정렬 도구
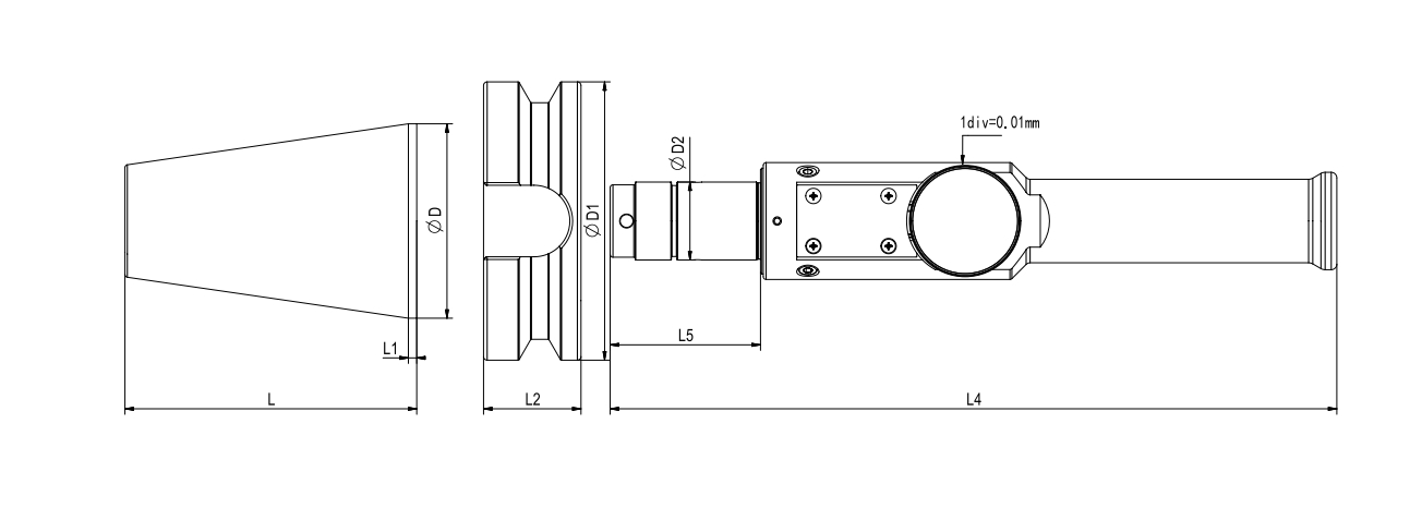
ATC 팔 용 BT 정렬 도구의 사양
크기
D
D1
D2
L
L1
L2
L4
L5
BT30-ATC18
31.75
46
18
50.4
2
20
251
44
BT40-ATC20
44.45
63
20
67.4
2
25
251
44
BT50-ATC28
69.85
100
28
104.8
3
35
261
54
연락처 BRIGHT-TOOLS
이메일:
Sales@bright-tools.com
전화:
86-534-8127588
주소:
253000, Chongde 5th Avenue, Gaotie New District, Dezhou, 산둥 성, 중국.
무료 컨센서션 받기
Submit
관련 JIS B 6339-BT 도구 홀더
페이스 밀 홀더
더보기
+
지루한 바 공백
더보기
+
런아웃 조정 가능한 플랜지 어댑터
더보기
+
냉각수 채널이있는 엔드 밀 홀더
더보기
+
스크류 인 밀링 커터 홀더
더보기
+
UM 너트와 함께 ER 콜레트 척
더보기
+
도구 홀더에 대한 최신 뉴스
2025/08/15
EMO 2025 부스 제 4 호, D58 호
자세히 알아보기 >
2025/07/21
유압 척이 CNC 수명을 더 쉽게 만드는 방법
자세히 알아보기 >
2025/06/25
CNC 애플리케이션을위한 다른 HSK 도구 홀더 유형을 식별하는 방법
자세히 알아보기 >
CNC 공구 홀더
축소 적합 도구 홀더
유압 척
JIS B 6339-BT 도구 홀더
DIN 69871-SK 도구 홀더
ANSI B5.50 SCAT/CAT 도구 홀더
DIN 69893 (ISO 12164) HSK-A 도구 홀더
DIN 69893 (ISO 12164) HSK-F 도구 홀더
DIN 69893 (ISO 12164) HSK-E 도구 홀더
정적 및 구동 도구
DIN69880-VDI 도구 홀더
DIN69880-VDI 냉각수 도구 홀더
BMT 도구 홀더
구동 도구 홀더
지루한 도구
파인 보링 헤드
다리 거친 지루한 머리
도구 홀더 액세서리
MTA 모스 테이퍼 ER 콜레트 척
콜렛 너트
풀 스터드
지루한 바 감소 소매
도구 홀더 Bushing
장치 잠금 도구 홀더
도구 홀더 트롤리
빠른 링크
회사
동영상
뉴스
FAQ
서비스
밝은 도구, 밝은 미래
이메일 :
Sales@bright-tools.com
텔 :
86-534-8127588
몹:
86-18865728871
스카이프:
Sdjinjie101
주소 :
253000, Chongde 5th Avenue, Gaotie New District, Dezhou, 산둥 성, 중국.
CNC 공구 홀더
축소 적합 도구 홀더
유압 척
MOD 도구 홀더
JIS B 6339-BT 도구 홀더
JIS B 6339-BBT 도구 홀더
JIS B 6339-NBT 도구 홀더
DIN 69871-SK 도구 홀더
DIN 69871-ISO 도구 홀더
ANSI B5.50 SCAT/CAT 도구 홀더
DIN 69893 (ISO 12164) HSK-A 도구 홀더
DIN 69893 (ISO 12164) HSK-E 도구 홀더
DIN 69893 (ISO 12164) HSK-F 도구 홀더
DIN69893 (ISO12164-1)-HSK-T 도구 홀더
DIN2080-NT 도구 홀더
GOST 25827-93 도구 홀더
정적 및 구동 도구
DIN69880-VDI 도구 홀더
DIN69880-VDI 냉각수 도구 홀더
BMT 도구 홀더
구동 도구 홀더
지루한 도구
지루한 도구 홀더
보링 도구 홀더 액세서리
반대로 진동
댐핑 페이스 밀 홀더
댐핑 투밍 도구 홀더
통합 댐핑 마무리 보링 도구 홀더
도구 홀더 액세서리
모스 도구 홀더
콜렛
풀 스터드
콜렛 너트
콜렛 스패너
지루한 바 감소 소매
도구 홀더 Bushing
장치 잠금 도구 홀더
HSK 냉각수 튜브
클러치 드라이브 링
나사 유지
클램핑 키트 58 PCS
Balluff 데이터 캐리어
도구 홀더 트롤리
기계
수축 적합 기계, 표준
수축 적합 기계, 냉각
수축 적합 기계, 냉각
수축 적합 기계, 냉각
도구 홀더 청소 장치
각도 헤드
AG90
AGU
PSC
PSC 어댑터에 BT
SK에서 PSC 어댑터
PSC 어댑터에 HSK
터닝 도구 홀더
터닝 도구 홀더
빠른 링크
회사
홈
CNC 공구 홀더
동영상
BRIGHT-TOOLS 정보
PSC 어댑터에 BT
2025-BRIGHT-TOOLS 카탈로그
DIN69880-VDI 도구 홀더
모스 도구 홀더
지루한 도구 홀더
SK에서 PSC 어댑터
PSC 어댑터에 HSK
수축 적합 기계, 표준
BMT 도구 홀더 란 무엇입니까?
AG90
AGU
터닝 도구 홀더
터닝 도구 홀더
확장 된 수축 핏 척을 재고 사용할 수 있습니다.
EMO Hannover-2023_copy20241023
제품 | 유압 콜렛 업그레이드 및 새로운!
UM 너트와 함께 ER 콜레트 척
UM 너트와 BBT ER 콜레트 척
MTA 모스 테이퍼 ER 콜레트 척
ER 콜렛
BT 풀 스터드
B1A 방사형, 짧은, 냉각수
UM 너트와 함께 DIN 69871 ER 콜레트 척
ANSI B5.50 ER 콜렛 척 UM 너트
DIN 69893 (ISO 12164) HSK-E ER 콜레트 척
미니 너트와 함께 DIN2080 ER 콜레트 척
BMT OD 터닝 도구 홀더
HSKect 보링 바 홀더
NBT ER 콜레트 척
Hex Nut과 함께 드라이브 슬롯이없는 ER 콜레트 척
JIS B 6339 보링 도구 홀더
ER 너트-UM
ER 스패너-Hex
Bushing B 유형 도구 홀더
MTB 모스 테이퍼 ER 콜레트 척
보링 바 홀더를 위한 감소 슬리브
AG90-ER11
SLA 도구 홀더를 잠그는 방법
도구 홀더 얼마나 많은 클램핑 방법?
SLA 도구 홀더 왜 그렇게 비싸지?
밝은 도구 도구 홀더 다른 브랜드 도구 홀더 일치
모드 변경 어댑터
도구 홀더 Adaper 설치 시간
열 기계 작동 과정
이 비디오는 우리의 공구 홀더 테이퍼 청소 기계에 대한 자세한 설명입니다.
2 조각 BT 슬림 수축 핏 척
BT 수축 척, 3 °, 슬림, 양식 A
BT 수축 척, 3 °, 슬림, 양식 B
BT 수축 척, 3 °, 정사이즈, 양식 A
HSK-A 수축 척, 3 °, 정사이즈, 양식 A
BT 수축 척, 3 °, 정사이즈, 양식 B
BT 수축 척, 3 °, 정사이즈, 냉각수
BMT 축 구동 헤드, DIN 1809
TG COLLET CHUCK의 기술 도용
축소 척 확장
페이스 밀 홀더
제품
기술 도움말
밝은 도구 도구 홀더
콜렛
보링 도구 홀더 액세서리
DIN69880-VDI 냉각수 도구 홀더
2025-BT 도구
수축 적합 기계, 냉각
DIN69880-VDI 도구 홀더
댐핑 페이스 밀 홀더
댐핑 투밍 도구 홀더
통합 댐핑 마무리 보링 도구 홀더
Hex Nut과 ER Collet Chuck
BT40 SFS 06 160 3 °
CNC 도구 홀더/ER 도구 홀더
ER 콜렛 세트
SK 풀 스터드
MTA 모스 테이퍼 OZ 콜레트 척
Dex Nut과 함께 DIN 69871ER 콜레트 척
ANSI B5.50 ER Collet Chuck with Hex Nut
DIN 69893 (ISO 12164) HSK-E 페이스 밀 홀더
DIN2080 ER 콜렛 척 UM 너트
Hex Nut과 BBT ER 콜레트 척
B2A 방사형, 짧은, 냉각수
외부 및 얼굴 용 HSKICT 터닝 도구 SBH
MS 너트와 드라이브 슬롯이없는 ER 콜렛 척
BMT 방사형 구동 헤드, DIN 1809
DIN 69871 보링 도구 홀더
ER 너트 헥스
ER 스패너-미니
Bushing J 유형 도구 홀더
도구 홀더 트롤리 표준
MTB 모스 테이퍼 OZ 콜레트 척
보링 바 홀더 SL40-20 위한 감소 슬리브
7/24 및 HSK 테이퍼 도구 홀더 용 잠금 장치
AG90-ER16
AG90-ER20
AG90-ER25
AG90-ER32
AG90-ER40
AG90-BT30
AG90-BT40
AGB-BT40
AG90-BT50
AG90-ER16X2
AG90-ER20X2
AG90-ER25X2
AG90-ER32X2
AG90-ER40X2
AG90-BT40X2
AG90-F50
AG90-F63
AG90-F80
AG90-F100
AGU-ER16
AGU-ER20
AGU-ER25
AGU-ER32
AGU-BT50
당신은 당신의 빛나는 도구 홀더 하시겠습니까? Plz 청소 장치 선택
열 수축 기계 작동 과정
축소 척 확장 슬림
HSK-A 수축 척, 3 °, 슬림, 양식 A
HSK-A 수축 척, 3 °, 슬림, 양식 B
HSK-E 수축 척, 3 °, 정사이즈, 양식 A
HSK-A 수축 척, 3 °, 정사이즈, 양식 B
장점
회사
속보! 로봇 팔이 온다!
풀 스터드
BMT 도구 홀더
2025-SK 도구
도구 홀더 아데퍼 슬리브
수축 적합 기계, 냉각
BT 유압 척, 표준
열 수축 공구 홀더 소개
ISO 7388 풀 스터드
MTA 모스 테이퍼 페이스 밀 홀더
방사형 홀더 형태 B1 오른쪽, 짧은
미니 너트와 함께 ER 콜레트 척
미니 너트와 함께 DIN 69871 ER 콜레트 척
DIN 69893 (ISO 12164) HSK-E 웰던 엔드 밀 홀더
DIN2080 파워 밀링 척
B3A 방사형, 짧은, 냉각수
외부 및 컷오프를위한 HSKICT 터닝 도구 SBV
NBT SKS 콜렛 척
UM 너트가있는 드라이브 슬롯이없는 ER 콜렛 척
BMT 더블 OD 터닝 도구 블록
DIN 69893 HSK-A 지루한 도구 홀드
고무 밀봉 콜렛
ER 너트 미니
ER 스패너-UM
도구 홀더 부싱 C 유형
도구 홀더 스탠드
7/24 테이퍼 도구 홀더 용 잠금 장치
MTB 모스 테이퍼 페이스 밀 홀더
도구 홀더 청소 장치의 작동 과정
미니 너트와 BBT ER 콜레트 척
ANSI B5.50 ER 콜레트 척, 짧은
열 수축 기계 깨진 블레이드 리무버
플랜지 도구 홀더 에이터퍼 슬리브
ER 콜레트 척, 모듈
BT 축소 핏 척 4.5 °
BT 슬림 수축 핏 척 3 °
HSK-E 수축 척, 3 °, 슬림, 양식 A
HSK-E 수축 척, 3 °, 슬림, 양식 B
HSK-F 수축 척, 3 °, 정사이즈, 양식 A
HSK-E 수축 척, 3 °, 정사이즈, 양식 B
VDI 축 구동 헤드, DIN 1809
외부와 마주 보는 터닝 도구
BBT 축소 핏 척 4.5 °
제품 쌓기
서비스
도구 홀더 청소 장치
2025-CAT 도구
콜렛 너트
콜렉트 척, 짧은
수축 적합 기계, 냉각
표준 수축 핏 척 4.5 °
유압 척 제품
파인 보링 헤드
트윈 커터 러프 보링 헤드, SP/SC
고양이 풀 스터드
방사형 홀더 형태 B2 왼쪽, 짧은
외부 및 얼굴 용 HSKICT 터닝 도구 SBN
DIN2080 OZ 콜레트 척
트윈 커터 러프 보링 헤드, CC
B4A 방사형, 짧은, 냉각수
외부 및 마주 보는 HSKICT 터닝 도구 SBT
BMT 얼굴 터닝 도구 홀더
DIN 69893 HSK-F 지루한 도구 홀더
MTB 모스 테이퍼 콤비 쉘 밀 홀더
ER 너트-MS
ER 스패너-MS
도구 홀더 부싱 DD 유형
도구 홀더 캐비닛
HSK-F 유압 척, 표준
도구 홀더 청소 장치
ER 콜렛 척, 짧은
DIN 69871 ER 콜레트 척, 짧은
BT 축소 핏 척 4.5 °, 냉각수
SK 슬림 수축 핏 척 3 °
HSK-F 수축 척, 3 °, 슬림, 양식 A
HSK-F 수축 척, 3 °, 슬림, 양식 B
VDI 방사형 구동 헤드, DIN 1809
제품 구조
제품 구조
제품 구조
솔루션
유압 척의 특징
2025-HSK-A 도구
콜렛 스패너
도구 홀더 청소 장치
제품 | APU 및 CPU 드릴 척 도구 홀더의 심층 분석
HSK-A 유압 척, 표준
BBT 파워 밀링 척
공구 홀더 CNC 도구 축소 적합 유압 척 마무리
밝은 도구 CNC 도구
OTT 풀 스터드
후크 스패너
방사형 홀더 형태 B3 거꾸로 오른쪽, 짧은
DIN 69871 파워 밀링 척
ANSI B5.50 전원 밀링 척
DIN 69893 (ISO 12164) HSK-E 스핀들 테스트 아버
DIN2080 페이스 밀 홀더
B1B4A 방사형, 짧은, 냉각수
GER 콜렛 척
BMT 보링 바 도구 홀더
JIS B 6339 브리지 보링 도구 홀더
GER 너트
Bushing Z 유형 도구 홀더
ER 밀봉 된 콜렛, 엄밀한
도구 홀더 트롤리 TL
도구 홀더 트롤리 TH
보링 도구 홀더 확장
도구 홀더 부싱 CV 유형
도구 홀더 트롤리 TD
MQL1 채널 축소 피트 척
SK 수축 핏 척 4.5 °
HSK-A 슬림 수축 핏 척 3 °
VDI 축 구동 헤드, 오프셋, DIN 1809
축소 적합 도구 홀더
유압 척 표준
2025-HSK-T 도구
지루한 바 감소 소매
유압 척 특징
BRIGHT-TOOLS 축소 적합
밝은 도구 CNC 도구 홀더 패키지
ISO 풀 스터드
볼 스패너
방사형 홀더 형태 B4 거꾸로 왼쪽, 짧은
ER 밀봉 된 너트
OZ 콜레트 척
DIN2080 콤비 쉘 밀 홀더
B1B4AK 방사형, 짧은, 냉각수, 쐐기 클램핑 홀더
HSK-E 유압 척, 표준
BMT 보링 바 홀더, 내부 및 외부 냉각수
MTA 스트레이트 생크 태핑 척
DIN 69871 브리지 보링 도구 홀드
DIN 69893 브리지 보링 도구 홀드
보링 도구 홀더 감속기
BBT 파워 밀링 척
SK 파워 밀링 척
CAT 파워 밀링 척
MQL2 채널 수축 핏 척
SK 수축 핏 척 4.5 °, 냉각수
HSK-E 슬림 수축 핏 척 3 °
수축 척 확장 냉각수
VDI 방사형 구동 헤드, 오프셋, DIN 1809
카탈로그
유압 척
파워 밀링 척
2025-NT 도구
도구 홀더 Bushing
도구 홀더 청소 장치
슬림 수축 핏 척, 3 °
마작 BT 풀 스터드
방사형 홀더 형태 B5 오른쪽, 긴
TG 콜레트 척
DIN2080 웰던 엔드 밀 홀더
B2B3A 방사형, 짧은, 냉각수
BBT 유압 척, 표준
HSK-T 터닝 도구 DCLNR | DCLNL 95 °/80 °
트윈 커터 러프 보링 헤드
ER 밀봉 된 콜렛
OZ 너트
BSB90 ° 보링 홀더 광장 보링 비트
광장 보링 비트가있는 TQC 45 ° 보링 홀더
Mazak CAT 풀 스터드
고양이 수축 핏 척 4.5 °
VDI 축 구동 헤드, DIN 5480
FAQ
영업 팀
2025-GOST 도구
장치 잠금 도구 홀더
유압 공구 홀더의 작동 원리
MOD 도구 홀더
BRIGHT-TOOLS CNC 부품
다리 거친 지루한 머리
방사형 홀더 형태 B6 왼쪽, 긴
정밀 스크류 콜레트 척
DIN 69871 OZ 콜레트 척
당나라와 DIN2080 모스 테이퍼 어댑터
B2B3AK 방사형, 짧은, 냉각수, 쐐기 클램핑 홀더
슬림 수축 척 확장 3 °
SK 유압 척, 표준
HSK-T 터닝 도구 PCLNR | PCLNL 95 °/80 °
SKS 너트
작은 미세 지루한 머리
NBJ20 마이크로 보링 바
BH2084 보링 도구 키트
DCK5-FB50P 마이크로 니싱 보링 키트
DCK6-FB50P 마이크로 니싱 보링 키트
고양이 수축 핏 척 4.5 °, 냉각수
2 조각 BT 슬림 수축 적합 척, 냉각수
VDI 방사형 구동 헤드, DIN 5480
HSK-A 수축 척, 3 °, 정사이즈, 냉각수
뉴스
2025-VDI 도구
JIS B 6339-BT 도구 홀더
공작 기계 전시회 2019
HSK 냉각수 튜브
두 바디 수축 핏 척의 특징
모듈 축소 피트 척
파워 밀링 척
축소 핏 척
CNC 공작 기계 액세서리
방사형 홀더 형태 B7 거꾸로 오른쪽, 긴
ANSI B5.50 TG 콜레트 척
드로우 바가있는 DIN2080 모스 테이퍼 어댑터
B5AK 방사형, 긴, 냉각수, 쐐기 클램핑 홀더
HSK-T 터닝 도구 DCMNN 50 °/80 °/50 °
ER 태핑 밀봉 된 콜렛
BT 유압 척, 슬림
HSK-A 수축 핏 척 4.5 °
VDI 축 구동 헤드, 오프셋, DIN 5480
HSK-E 수축 척, 3 °, 정사이즈, 냉각수
HSK-F 수축 척, 3 °, 정사이즈, 냉각수
연락처
JIS B 6339-BBT 도구 홀더
2018 년의 밝은 도구 전시회
클러치 드라이브 링
축소 핏 척 작동 원리
BBT SKS 콜렛 척
축소 적합 도구
스트레이트 생크 콜렛
방사형 홀더 형태 B8 거꾸로 왼쪽, 긴
ANSI B5.50 정밀 스크류 콜렛 척
DIN2080 도구 홀더 어댑터 슬리브
B6AK 방사형, 긴, 냉각수, 쐐기 클램핑 홀더
축소 적합 ER 콜레트
HSK-T 터닝 도구 PCMNN 50 °/80 °/50 °
SK 유압 척, 슬림
파워 밀링 척
HSK-A 수축 핏 척 4.5 °, 냉각수
VDI 방사형 구동 헤드, 오프셋, DIN 5480
산업 솔루션
JIS B 6339-NBT 도구 홀더
Er 도구 홀더의 런아웃 정확도를 테스트하는 방법?
2017 년의 밝은 도구 전시회
2025-BMT 도구
나사 유지
BBT 페이스 밀 홀더
도구 홀더 CNC 도구
OZ 콜레트
축 홀더 양식 C1 오른쪽
DIN 69871 SKS 콜렛 척
ANSI B5.50 페이스 밀 홀더 인치
DIN2080 드릴 척 어댑터
B7AK 방사형, 긴, 냉각수, 쐐기 클램핑 홀더
축소 적합 ER 콜레트 확장
CAT 유압 척, 슬림
HSK-E 수축 핏 척 4.5 °
VDI 축 구동 헤드, DIN 5482
검색 결과
고객 솔루션
DIN 69871-SK 도구 홀더
BRIGHT-TOOLS 연간 여행
2025 구동 도구
클램핑 키트 58 PCS
축소 용 도구 홀더 로드의 작동 단계는 다음과 같습니다.
BBT 콤비 쉘 밀 홀더
SKS 콜렛
축 홀더 양식 C2 왼쪽
다시 콜레트 척 당기기
DIN 69871 페이스 밀 홀더
DIN2080 APU 드릴 척 홀더
C1C4A 축, 냉각수
축소 척 세트
HSK-T 터닝 도구 PDJNR | PDJNL 55 °/93 °
HSK 유압 척, 슬림
HSK-F 수축 핏 척 4.5 °
VDI 방사형 구동 헤드, DIN 5482
시테 맵
새로운 제품에 2016 밝은 도구
2025-SHRINK 도구
DIN 69871-ISO 도구 홀더
Balluff 데이터 캐리어
CNC 축소 핏 척
NDC 콜렛
축 홀더 양식 C3 거꾸로 오른쪽
SKS 콜렛 척
DIN 69871 콤비 쉘 밀 홀더
ANSI B5.50 엔드 밀 홀더 웰던
DIN2080 빠른 변경 두드리는 척
C1C4AK 축, 냉각수, 쐐기 클램핑 홀더
2 조각 슬림 수축 척 바디
HSK-T 터닝 도구 DDNNN 62.5 °/55 °/62.5 °
C 유압 척, 슬림
VDI 축 구동 헤드, 오프셋, DIN 5482
404
ANSI B5.50 SCAT/CAT 도구 홀더
밝은 도구 봄 나들이
도구 홀더 트롤리
2025-HY 도구
BBT 웰던 엔드 밀 홀더
축 홀더 양식 C4 거꾸로 왼쪽
DIN 69871 엔드 밀 홀더 웰던
C2C3A 축, 냉각수
2 조각 슬림 수축 척 확장
얼굴 밀 홀더 인치
냉각수 채널이있는 ANSI B5.50 엔드 밀 홀더
HSK-T 터닝 도구 PDNNN 62.5 °/55 °/62.5 °
DC 콜렛
BT 유압 척, 전원 디자인
VDI 방사형 구동 헤드, 오프셋, DIN 5482
개인 정보 보호 정책
DIN 69893 (ISO 12164) HSK-A 도구 홀더
2016 년의 밝은 도구 전시회
구동 도구 홀더
2025 지루한 도구
페이스 밀 홀더
당나라와 BBT 모스 테이퍼 어댑터
축소 적합 도구 홀더 소개
우리는 달 당 대략 30,000 - 50,000 공구 홀더를 생성할 수 있습니다
여러 좌석이있는 직사각형 홀더 양식 D1
냉각수 채널이있는 DIN 69871 엔드 밀 도구 홀더
당나라와 ANSI B5.50 모스 테이퍼 어댑터
수축 척, 3 °, 슬림, 양식 A
HSK-T 터닝 도구 DDUNR | DDUNL 93 °/55 °
Cluth, Metric없이 콜렛 탭
SK 유압 척, 파워 디자인
2 조각 SK 슬림 수축 핏 척
VDI 축 구동 헤드, TOEM
제출 성공!
2025 도구 홀더 액세서리
공작 기계 홀더
여러 개의 좌석이있는 직사각형 홀더 양식 D2 반전
콤비 쉘 밀 홀더
DIN 69871 엔드 밀 홀더 휘파람 노치
ANSI B5.50 도구 홀더 어댑터 슬리브
UM 너트와 함께 DIN 69893 ER 콜레트 척
D1D2A 직사각형 홀더, 냉각수
수축 척, 3 °, 슬림, 양식 B
HSK-T 터닝 도구 PDUNR | PDUNL 93 °/55 °
Cluth, 인치없이 접점을 두드리는
HSK 유압 척, 파워 디자인
VDI 방사형 구동 헤드, 토엠
타그
2025-M 도구
의료 기기 제조의 밀링 도구 홀더: 중요한 구성 요소
2025 커터
2025-반대로 진동
2025-MOD 도구
BBT 도구 홀더 어댑터 슬리브
CNC 도구 밀링/터닝
Cluth, Metric으로 콜렛 탭
인덱싱 가능한 삽입 드릴 양식 E1 용 보링 홀더
당나라와 DIN 69871 모스 테이퍼 어댑터
Dex Nut과 함께 DIN 69893 ER 콜렛 척
ARALU 컷 오프 도구 홀더, 냉각수
수축 척, 3 °, 정사이즈, 양식 A
ANSI B5.50 드릴 척 어댑터
HSK-T 터닝 도구 DSBNR | DSBNL 90 °/75 °
BT 유압 척, 짧은
VDI 축 구동 헤드, 오프셋, 토엠
검색 결과 제품
메인 카탈로그
목공에서 금속 가공까지: Collet Chuck Holders의 다양성
지루한 홀더 양식 E2
드로우 바가있는 DIN 69871 모스 테이퍼 어댑터
ANSI B5.50 APU 드릴 척 홀더
미니 너트와 함께 DIN 69893 ER 콜레트 척
ALARU 절단 도구 홀더, 냉각수
수축 척, 3 °, 정사이즈, 양식 B
엔드 밀 홀더
HSK-T 터닝 도구 PSBNR | PSBNL 90 °/75 °
SK 유압 척, 쇼트
VDI 방사형 구동 헤드, 오프셋, 토엠
검색 결과 기타
하위 클래스 카탈로그
전자 제품 상승: PCB 제조에서 CNC 절단 도구 홀더
유압 도구 홀더
Cluth, 인치와 접점을 두드리는
지루한 바 홀더 양식 E2S
냉각수 채널이있는 엔드 밀 홀더
DIN 69871 도구 홀더 어댑터 슬리브
ANSI B5.50 정밀 드릴 척 홀더
DIN 69893 HSK-A 파워 척
수축 척, 3 °, 정사이즈, 냉각수
HSK-T 터닝 도구 DSSNR | DSSNL 45 °/90 °
BT 유압 척, 금형
VDI 축 구동 헤드, STEPPED HAAS
CNC 도구 홀더 제조 업체: 정밀도와 품질로 의료 기기 제조 강화
BBT 정밀 드릴 척 홀더
BRIGHT-TOOLS 축소 맞춤 도구 홀더
OZ 콜레트 척 양식 E3
엔드 밀 홀더 휘파람 노치
ANSI B5.50 빠른 변경 태핑 척
DIN 69871 드릴 척 어댑터
축소 척, 곡선
HSK-T 터닝 도구 PSSNR | PSSNL 45 °/90 °
SK 유압 척, 금형 용
HSK 파워 밀링 척
VDI Radial Driven Head, STEPPED HAAS
축소 척 기술로 생산성 향상
탕과 모스 테이퍼 어댑터
DIN 69871 APU 드릴 척 홀더
ANSI B5.50 스크류 인 밀링 커터 홀더
DIN 69893 OZ 콜레트 척
ER 콜렛 척 양식 E4
HSK-T 터닝 도구 DVPNR | DVPNL 117.5 °/35 °
HSK 유압 척, 금형
MQL1 채널 길이 설정 나사
BT 축소 척, 곡선
VDI 축 구동 헤드, 오프셋, STEPPED HAAS
유압 공구 홀더 정보
서랍 막대가있는 모스 테이퍼 어댑터
DIN 69871 정밀 드릴 척 홀더
ANSI B5.50 스크류 인 밀링 커터 홀더, 스트레이트
DIN 69893 TG 콜레트 척
HSK-T 터닝 도구 DVUNR | DVUNL 93 °/35 °
SK 유압 척, 그라인드 용
더블 지루한 바 홀더, 오른쪽
MQL1 채널 냉각수 공급 세트
2 조각 SK 슬림 수축 핏 척, 냉각수
VDI 방사형 구동 헤드, 오프셋, STEPPED HAAS
CNC 정밀도에서 축소 척의 역할
도구 홀더 어댑터 슬리브
BBT 런아웃 조정 가능한 플랜지 어댑터
DIN 69871 빠른 변경 태핑 척
ANSI B5.50 런아웃 조정 가능한 플랜지 어댑터
DIN 69893 정밀 스크류 콜레트 척
HSK-T 터닝 도구 DVVNN 72.5 °/35 °/72.5 °
BMT 드라이브 헤드, DIN 1809
MTB 유압 척
더블 보링 바 홀더, 왼쪽
MQL2 채널 길이 설정 나사
고성능 가공의 축소 척
모스 테이퍼 어댑터 형태 F
드릴 척 어댑터
DIN 69871 스크류 인 밀링 커터 홀더
ANSI B5.50 UM 조정 가능한 도구 홀더
DIN 69893 풀백 콜레트 척
HSK-T 터닝 도구 DWLNR | DWLNL 95 °/80 °
VDI 드라이브 헤드, DIN 1809
MQL2 채널 냉각수 공급 세트
유압 척, 모듈
HSK-A 축소 척, 곡선
축소 척의 장점 탐색
APU 드릴 척 홀더
수축 도구 홀더 란 무엇입니까?
직사각형 빈 형태 A1
DIN 69871 스크류-밀링 커터 홀더, 스트레이트
ANSI B5.50 ATC 팔 정렬 도구
DIN 69893 SKS 콜렛 척
HSK-T 터닝 도구 PWLNR | PWLNL 95 °/80 °
VDI 드라이브 헤드, DIN 5480
밀봉 된 유압 콜렛
축소 핏 척, 모듈
HSK-E 축소 척, 곡선
성공을위한 축소: 항공 우주 제조에서 척 축소
정밀 드릴 척 홀더
열 수축 도구 홀더의 정확도 검사
둥근 빈 형태 A2
DIN 69871 런아웃 조정 가능한 플랜지 어댑터
ANSI B5.50 보링 바 공백
DIN 69893 페이스 밀 홀더
유압 밀봉 콜렛
VDI 드라이브 헤드, DIN 5482
HSK-F 축소 척, 곡선
Tight Tolerances를 넘어서: 항공 우주 공학의 축소 적합 콜렛
BBT 스핀들 테스트 아버
축소 적합 도구 홀더
절단 도구 홀더 오른쪽 높이 조정 가능
빠른 변경 태핑 척
DIN 69871 UM 조정 가능한 도구 홀더
ANSI B5.50 스핀들 테스트 아버
DIN 69893 페이스 밀 홀더
HSK-T 터닝 도구 DDQNR | DDQNL 107.5 °/55 °, 긴
VDI 구동 헤드, TOEM BARUFFALDI
냉각수 채널과 유압 콜렛
축소 핏 콜렛: 자동차 생산 정밀 혁신
스크류 인 밀링 커터 홀더
축소 적합 척 수축 도구 홀더
절단 도구 홀더 왼쪽 높이 조정 가능
DIN 69871 지루한 바 공백
DIN 69893 콤비 쉘 밀 홀더
HSK-T 터닝 도구 PDQNR | PDQNL 107.5 °/55 °, 긴
VDI 구동 헤드, STEPPED HAAS
ANSI B5.50 ATC 팔 정렬 도구
수축 핏 콜렛: 정밀 가공 혁신
유압 척 도구 홀더
절삭 공구 홀더 거꾸로 된 오른쪽 높이 조정 가능
DIN 69871 스핀들 테스트 아버
DIN 69893 엔드 밀 홀더 웰던
스크류 인 밀링 커터 홀더, 스트레이트
HSK-T 터닝 도구 SCLCR | SCLCL 95 °/80 °
2 조각 HSK-A 슬림 수축 핏 척
건설 및 인프라의 축소 적합 콜렛
런아웃 조정 가능한 플랜지 어댑터
축소 적합 도구 보유
절단 도구 홀더 거꾸로 된 왼쪽 높이 조정 가능
ATC 팔 용 DIN 69871 정렬 도구
냉각수 채널을 가진 DIN 69893 엔드 밀 홀더
HSK-T 터닝 도구 SCMCN 50 °/80 °/50 °
UM 조정가능한
DIN 69893 엔드 밀 홀더 휘파람 노치
HSK-T 터닝 도구 SDHCR | SDHCl 107.5 °/55 °
ATC 팔 용 SK 정렬 도구
열 수축 도구 홀더의 분류
CMM 검사 동적 균형
보호 플러그 형태 Z2
ATC 팔 정렬 도구
HSK-T 터닝 도구 SDNCN 62.5 °/55 °/62.5 °
유압 척, 모듈
IMTS 2024
지루한 바 공백
드로우 바가있는 DIN 69893 모스 테이퍼 어댑터
HSK-T 터닝 도구 SDJCR | SDJCL 93 °/55 °
축소 핏 척
열 수축 도구 홀더의 원리와 장점
스핀들 테스트 아버
DIN 69893 도구 홀더 어댑터 슬리브
HSK-T 터닝 도구 SDUCR | SDUCL 93 °/55 °
유압 척
유압 홀더의 성능 및 적용
DIN 69893 APU 드릴 척 홀더
HSK-T 터닝 도구 SSBCR | SSBCL 75 °/90 °
ATC 팔 BT 정렬 도구
ER 콜렛 척
특징 및 유형 BRIGHT-TOOLS BMT 도구 홀더
유압 공구 홀더의 가공 과정
DIN 69893 정밀 드릴 척 홀더
HSK-T 터닝 도구 SSSCR | SSSCL 45 °/90 °
2 조각 HSK-A 슬림 수축 적합 척, 냉각수
도구 홀더 청소 장치
엔드 밀 홀더
터닝 센터 및 구동 도구 홀더
고성능 구동 도구 홀더는 어떻습니까?
ER 콜렛 척
BRIGHT-TOOLS 축소 핏 척
DIN 69893 빠른 변경 태핑 척
HSK-T 터닝 도구 SVPBR | SVPBL | SVPCR | SVPCL 117.5 °/35 °
도구 홀더
HSK E50 도구 홀더의 작동 원리
HSK 도구 홀더의 종류
도구 홀더 아데퍼 슬리브
ER 콜렛
DIN 69893 스크류 인 밀링 커터 홀더
HSK-T 터닝 도구 SVUBR | SVUBL | SVUCR | SVUCL 93 °/35 °
전력 밀링 척의 장점 및 응용 분석
수축 맞는 기계
ER 공구 홀더는 어떻게 처리되고 사용됩니까?
DIN 69893 스크류-밀링 커터 홀더, 스트레이트
HSK-T 터닝 도구 SVVBN | SVVCN 72.5 °/35 °/72.5 °
축소 적합 수집의 장점 및 응용
DIN 69893 런아웃 조정 가능한 플랜지 어댑터
HSK-T 터닝 도구 SVJBR | SVJBL | SVJCR | SVJCL 93 °/35 °
초보자가 알아야 할 구동 도구 보유자의 특성 및 기능
DIN 69893 UM 조정 가능한 도구 홀더
HSK-T 터닝 도구 긴 SDQCR | SDQCL 107.5 °/55 °
유압 척의 특성은 무엇입니까? 유압 척의 작동 원리는 어떻게 작동합니까?
ATC 팔 용 DIN 69893 정렬 도구
HSK-T 터닝 도구 긴 SVQCR | SVQCL 107.5 °/55 °
유압 콜렛 설치의 응용 프로그램 금기
DIN 69893 지루한 바 공백
2 조각 HSK-E 슬림 수축 핏 척
축소 적합 도구 홀더 란 무엇입니까?
DIN 69893 스핀들 테스트 아버
2 조각 HSK-F 슬림 수축 핏 척
열 수축 도구 홀더의 혁신적인 설계 및 응용
금형 가공에 열 수축 홀더 적용
CNC 홀더 선택
DIN 69893 (ISO 12164) HSK-E 도구 홀더
CNC 터닝에서 VDI 도구 홀더 사용의 장점
CNC 가공 도구 홀더 유압 척
DIN 69893 (ISO 12164) HSK-F 도구 홀더
유압 홀더의 응용 시나리오
DIN69893 (ISO12164-1)-HSK-T 도구 홀더
유압 홀더에 대한 지식 포인트 요약
축소 핏 척 BRIGHT-TOOLS
DIN2080-NT 도구 홀더
유압 홀더: 제조를위한 고정밀 도구
CNC 기계 센터를 위한 BRIGHT-TOOLS 축소 핏 콜레트 도구 홀더
GOST 25827-93 도구 홀더
CNC 홀더와 관련된 지식
유압 밀링 척
다양한 유형의 도구 홀더의 성능 비교
축소 핏 척 열 수축 도구 손잡이가 어떤 모습인지 아십니까?
GOST 25827-93 ER 콜레트 척
BBT 도구 홀더 구조 설계 및 CNC 공작 기계에 적용
GOST 25827-93 파워 밀링 척
열 수축 도구 홀더를 위한 안전한 작동 및 유지 보수 절차
GOST 파워 밀링 척
회전 도구 홀더 및 유압 홀더의 차이점 및 응용 분석
열 수축 도구 홀더의 분류는 무엇입니까?
BT와 BBT 도구 보유자의 차이점
열 수축 도구 홀더의 수축 적합 척 분류
GOST 25827-93 페이스 밀 홀더
유압 홀더의 작동 원리 및 안전한 작동
GOST 25827-93 콤비 쉘 밀 홀더
열 수축 도구 홀더의 원리와 장점
DIN 69893 (ISO 12164) HSK-F ER 콜레트 척
GOST 25827-93 웰던 엔드 밀 홀더
HSK 도구 홀더를 사용할 때 처리 안전을 보장하는 방법?
DIN 69893 (ISO 12164) HSK-F OZ 콜레트 척
Tang과 GOST 25827-93 모스 테이퍼 어댑터
HSK 도구 홀더의 구조 및 장점
DIN 69893 (ISO 12164) HSK-F 페이스 밀 홀더
GOST 25827-93 Morse 테이퍼 어댑터 (Drawbar 포함)
HSK 도구 홀더: 효율적인 가공을위한 비밀 무기
DIN 69893 (ISO 12164) HSK-F 웰던 엔드 밀 홀더
GOST 25827-93 APU 드릴 척 홀더
열 수축 도구 홀더의 최소 클램핑 길이는 얼마입니까?
축소 척 도구 홀더 공작 기계 액세서리
DIN 69893 (ISO 12164) HSK-F 모스 테이퍼 어댑터
GOST 25827-93 빠른 변경 태핑 척
VDI 툴홀더의 기능 및 중요성
열 수축 도구 소지자는 어떻게 작동합니까?
DIN 69893 (ISO 12164) HSK-F 정밀 드릴 척 홀더
유압 도구 홀더: 고정밀 가공을위한 탁월한 선택
DIN 69893 (ISO 12164) HSK-F 보링 바 공백
정적 및 구동 도구
밝은 도구: 도구 홀더 제조의 리더
DIN 69893 (ISO 12164) HSK-F 스핀들 테스트 아버
지루한 도구
HSK 냉각수 튜브의 표준 및 기능
반대로 진동
CIMT2025 중국 국제 기계 쇼
도구 홀더 액세서리
BT 홀더와 SK 도구 홀더의 차이점
기계
열 수축 도구 홀더의 장점 및 원리
SK 도구 홀더의 특징 및 장점
DIN 69880 VDI 도구 홀더: 고정밀 가공을위한 이상적인 선택
HSK 도구 홀더 디자인 대 DIN 69871 도구 홀더: 진짜 차이점은 무엇입니까?
EMO 2025 부스 제 4 호, D58 호
각도 헤드
유압 척이 CNC 수명을 더 쉽게 만드는 방법
CNC 애플리케이션을위한 다른 HSK 도구 홀더 유형을 식별하는 방법
PSC
서비스
솔루션
산업 솔루션
고객 솔루션
밝은 도구, 밝은 미래
이메일: :
Sales@bright-tools.com
텔: :
86-534-8127588
몹: :
86-534-8127588
스카이프: :
Sdjinjie101
주소 :
253000, Chongde 5th Avenue, Gaotie New District, Dezhou, 산둥 성, 중국.
86-534-8127588
Your browser does not support VBScript!